Technology
Apple Explores Enhanced Gesture Recognition for Future AirPods
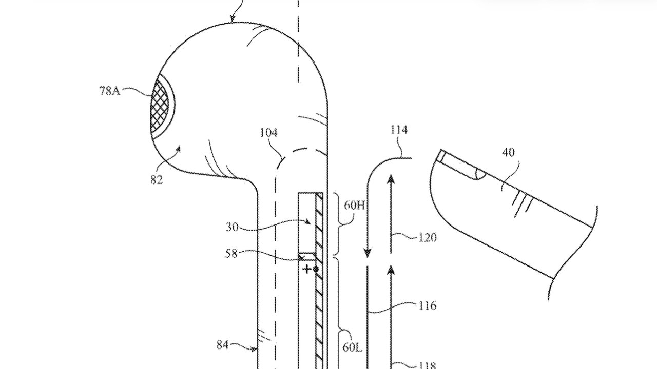
Apple is advancing its AirPods technology by exploring new methods for gesture recognition, according to a recently disclosed patent application titled “Gesture Detection Based on Antenna Impedance Measurements.” This innovation aims to replace the current separate detection circuitry of AirPods with a more integrated solution utilizing the radio frequency (RF) antenna to sense user gestures.
The evolution of AirPods has been notable since the first patent was filed in 2011. Over the years, Apple has introduced various features, including touch controls. However, many of the planned gesture control options, such as camera-based systems, have yet to be implemented. With this latest patent, Apple is signaling a shift towards a more seamless interaction model for users.
Innovative Gesture Recognition Technology
The new approach proposed by Apple suggests that the RF antenna could be capable of detecting a user’s touch directly. This could lead to more responsive and intuitive gesture control, eliminating the need for a separate touch surface system currently found on AirPods. By leveraging the existing antenna technology, Apple may enhance user experience and functionality significantly.
The implications of this technology could extend beyond simple touch gestures. If successful, it might allow for more complex interactions, potentially transforming how users engage with their devices. As the patent outlines, the goal is to create a more integrated and efficient system that aligns with the modern user’s expectations for technology.
Research into gesture control has been ongoing, with various companies exploring different methods. Apple’s focus on using antenna impedance measurements represents a unique approach. This could also lead to improvements in battery efficiency and overall device performance, as fewer separate components may reduce power consumption.
Future Prospects and Industry Impact
While the patent does not guarantee immediate implementation, it reflects Apple’s commitment to innovating its product line. The potential for enhanced gesture recognition in AirPods could influence the broader market, prompting competitors to explore similar technologies. As the demand for more intuitive user interfaces grows, companies may need to adapt quickly to stay relevant.
Apple’s continued investment in gesture recognition technology highlights the importance of user experience in modern device design. As consumers increasingly seek convenience and efficiency, advancements like those proposed in this patent could become standard features in future iterations of AirPods.
In conclusion, Apple’s exploration of gesture recognition using RF antenna technology represents an exciting development in the evolution of its AirPods. As the company continues to refine its products, consumers can look forward to more integrated and responsive devices that enhance their daily interactions with technology.
-
Education8 months agoBrandon University’s Failed $5 Million Project Sparks Oversight Review
-
Science9 months agoMicrosoft Confirms U.S. Law Overrules Canadian Data Sovereignty
-
Lifestyle4 months agoDiscover Aritzia’s Latest Fashion Trends: A Comprehensive Review
-
Lifestyle8 months agoWinnipeg Celebrates Culinary Creativity During Le Burger Week 2025
-
Education8 months agoNew SĆIȺNEW̱ SṮEȽIṮḴEȽ Elementary Opens in Langford for 2025/2026 Year
-
Business5 months agoEngineAI Unveils T800 Humanoid Robot, Setting New Industry Standards
-
Health9 months agoMontreal’s Groupe Marcelle Leads Canadian Cosmetic Industry Growth
-
Science9 months agoTech Innovator Amandipp Singh Transforms Hiring for Disabled
-
Lifestyle2 months agoCanmore’s Le Fournil Bakery to Close After 14 Successful Years
-
Technology9 months agoDragon Ball: Sparking! Zero Launching on Switch and Switch 2 This November
-
Technology4 months agoDigg Relaunches as Founders Kevin Rose and Alexis Ohanian Join Forces
-
Top Stories5 months agoCanadiens Eye Elias Pettersson: What It Would Cost to Acquire Him
-
Lifestyle6 months agoEdmonton’s Beloved Evolution Wonderlounge Closes, New Era Begins
-
Health7 months agoEganville Leader to Close in 2026 After 123 Years of Reporting
-
Top Stories5 months agoNicol Brothers Shine as Wheat Kings Dominate U18 AAA Hockey
-
Education9 months agoRed River College Launches New Programs to Address Industry Needs
-
Business9 months agoBNA Brewing to Open New Bowling Alley in Downtown Penticton
-
Business8 months agoRocket Lab Reports Strong Q2 2025 Revenue Growth and Future Plans
-
Education6 months agoAlberta Petition Aims to Redirect Funds from Private to Public Schools
-
Education9 months agoAlberta Teachers’ Strike: Potential Impacts on Students and Families
-
Technology7 months agoDiscord Faces Serious Security Breach Affecting Millions
-
Technology9 months agoGoogle Pixel 10 Pro Fold Specs Unveiled Ahead of Launch
-
Education5 months agoʔaq̓am Education Law Enacted, Affirming Self-Governance Rights
-
Education7 months agoDurham Schools Urged to Reconsider Prom Cancellation After Student Protest
